AS 75
Innovatives Fenster- und Türensystem
Das System AS 75 Industrial wurde für Architekten und Investoren entwickelt, die nach Lösungen suchen, welche moderne technische Standards mit der Ästhetik klassischer Stahlfenster verbinden. Es ist die ideale Antwort auf die Anforderungen revitalisierter Industriegebäude, Lofts sowie moderner Wohn- und Gewerbeobjekte, bei denen ein markanter, puristischer Charakter im Vordergrund steht.
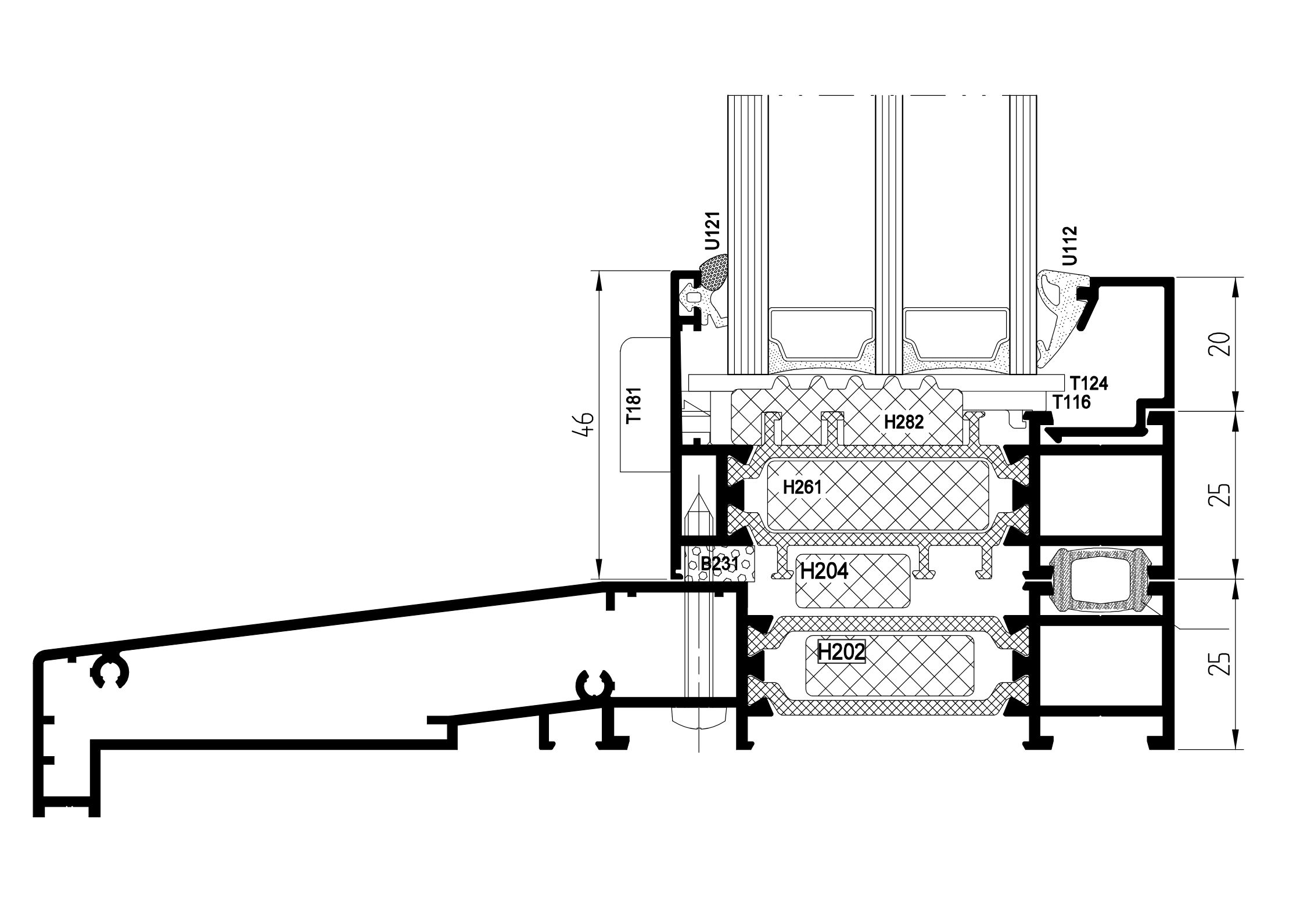
Das dreikammerige System AS 75 Industrial ist für die Herstellung von wärmegedämmten Fenstern und Balkontüren vorgesehen. Ein charakteristisches Merkmal des Systems sind Sprossen in flacher und räumlicher Ausführung. Das minimalistische Design entspricht den neuesten architektonischen Trends. Das System AS 75 Industrial erfüllt die Anforderungen aller aktuellen Wärmedämmnormen, was durch Zertifikate renommierter Prüfinstitute bestätigt wird. Es kann mit anderen Aluminiumsystemen kombiniert werden, wodurch eine einheitliche Umsetzung der gesamten Bauelemente im Objekt ermöglicht wird.
Niedrige Balkonschwelle in den Varianten R und RU bei durchgehender umlaufender Abdichtung
Verfügbar in den Varianten U, R, RU sowie RU mit beweglichem Pfosten
Möglichkeit zur Herstellung von Bogenkonstruktionen, auch geschweißt
Zwei Varianten der Beschlagbetätigung: Aluminium und Kunststoff
Vier thermische Varianten
Abdeckung der Beschlagnut
Designorientierte Aluminium-Abdeckungen für die Entwässerung
System kompatibel mit Smart-Home-Lösungen
Möglichkeit zum Einsatz von anthrazitfarbenen Dichtungen
|
Maximale Flügelhöhe |
3000 mm |
|
Maximale Flügelbreite |
1600 mm |
|
Maximales Flügelgewicht |
200 kg |
|
Minimale sichtbare Rahmenbreite |
54 mm |
|
Einbautiefe |
75 mm |
|
Verglasungsbereich |
16-66 mm |
|
Minimale sichtbare Flügelbreite |
38 mm |
Das System Aluron AS 75 Industrial erhält positive Bewertungen, insbesondere für die gelungene Kombination aus industriellem (Loft-)Design und sehr guten technischen Parametern, darunter eine hohe Wärmedämmung sowie Einbruchhemmung. Nutzer und Experten schätzen sowohl die Ästhetik als auch die solide Verarbeitung.
Die Fensterkonstruktion wird durch spezielle Sprossen (flach oder räumlich) ergänzt, was sich ideal für die Renovierung von Bestandsgebäuden sowie für neue Projekte in diesem Stil eignet.